行政相对人名称:西藏新城悦物业服务股份有限公司泗洪分公司
违法事实:消防设施、器材、消防安全标志未保持完好有效
处罚依据:《中华人民共和国消防法》第六十条第一款第一项并参照《江苏省消防行政处罚裁量权基准》对照表编号002-1“严重违法情形”
处罚内容:给予西藏新城悦物业服务股份有限公司泗洪分公司罚款人民币肆万伍仟元整的行政处罚
罚款金额:4.5万元

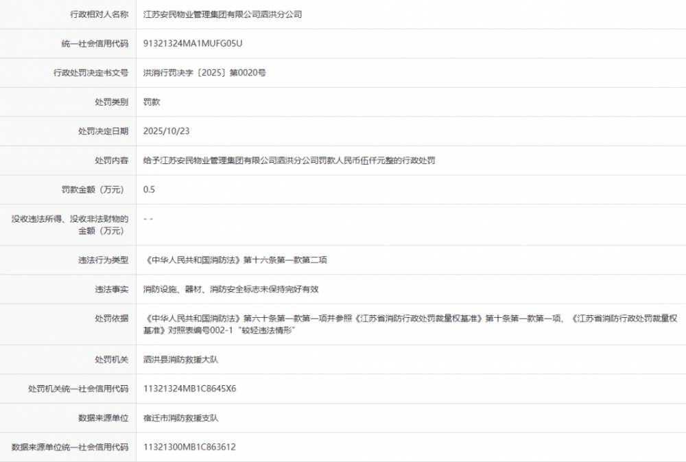
行政相对人名称:江苏安民物业管理集团有限公司泗洪分公司 违法事实:消防设施、器材、消防安全标志未保持完好有效 处罚依据:《中华人民共和国消防法》第六十条第一款第一项并参照《江苏省消防行政处罚裁量权基准》第十条第一款第一项、《江苏省消防行政处罚裁量权基准》对照表编号002-1“较轻违法情形” 处罚内容:给予江苏安民物业管理集团有限公司泗洪分公司罚款人民币伍仟元整的行政处罚 罚款金额:0.5万元

 热点关注
 热点关注 
 免责声明:本站所刊载的所有的房源信息、活动信息、资料及图片均由网站用户提供,其真实性、合法性由信息发布人负责,本网站不声明或保证其内容之正确性或可靠性。所有信息请与经纪公司、房产公司、家装公司、业主个人等确认为准!
 免责声明:本站所刊载的所有的房源信息、活动信息、资料及图片均由网站用户提供,其真实性、合法性由信息发布人负责,本网站不声明或保证其内容之正确性或可靠性。所有信息请与经纪公司、房产公司、家装公司、业主个人等确认为准! 
 
 
 
